必赢电子游戏网站6月1日电(通讯员 汪诚文 刘书明 刘艳臣 施匡围)6月1日上午9:50,《城市给水排水管道工程及设计》的线上期末考试依托必赢电子游戏网站网络学堂和腾讯会议平台如期进行。该课程的三位任课教师汪诚文、刘书明、刘艳臣和课程助教施匡围进行了线上监考,20位选课同学严格遵守考场纪律,按要求完成了作答。

图1 考试结束后老师与同学们合影
9:30,老师们已经进入了事先准备的腾讯会议室,等待着同学们的到来。为了今天这场考试的顺利进行,三位老师和助教依据《在线教学指导专家组关于开展远程期末考试的建议》和《远程期末考试培训》内容进行了多次严肃的讨论,于5月25日课堂上与同学交流考试方式,并于5月27日与同学们一同模拟了考试的具体流程。

图2 讲解考试流程的PPT

图3 考试流程模拟试卷
考试采用了同学们最为熟悉的网络学堂和腾讯会议平台进行,由网络学堂的作业栏目实现按时收发试卷,利用腾讯视频会议进行线上监考,同时也提供给考生实时向监考老师反馈问题的途径。
考虑到远程考试的特殊性,考试题目全部采用主观题(简答和计算),并将计算题中的个别系数设置为与学生的学号相关以确保考试的公平性。为保障考试信息传递的准确性,采用pdf的形式发放试卷和回收答题纸,而在word版本的答题纸里提供试卷中表格数据以方便同学编辑。
9:40,同学们陆续进入会议室,汪诚文老师强调了考试纪律,并要求同学们打开摄像头,刘书明老师和刘艳臣老师就部分题目的答题规范进行了说明,之后由助教在网络学堂发放试卷和答题纸。

图4 通过网络学堂发放试卷
9:50,考试正式开始,同学们认真作答并时而通过腾讯会议向监考老师提问。

图5 《城市给水排水管道工程及设计》线上期末考试进行中
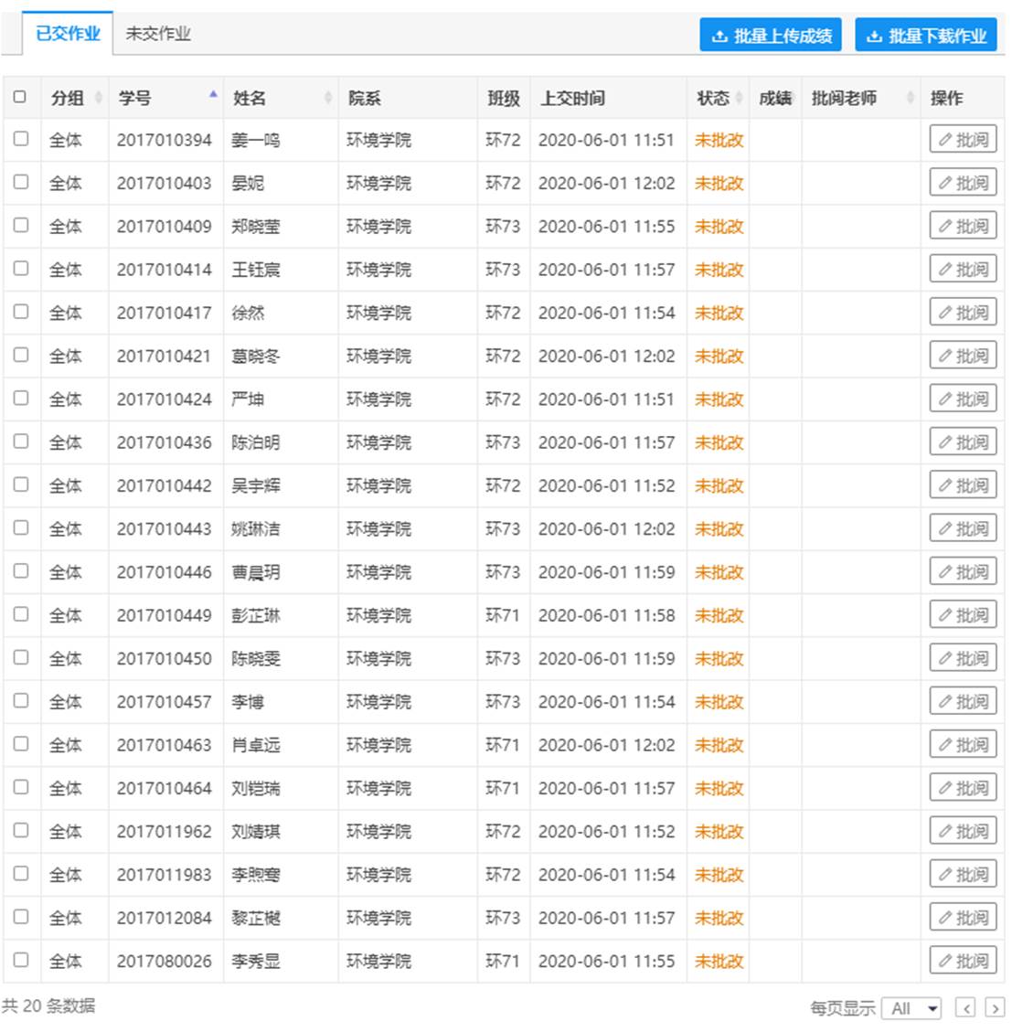
11:50,考试按时结束,同学们随后顺利完成了答题纸的整理、导出和上传。监考老师确定答题纸的数量及格式后,考试圆满结束。

图6 同学们提交的答卷
本课程是必赢电子游戏网站第一门顺利完成在线考试的课程,为全院顺利完成本学期的教学任务开了一个好头。